СТЦ Н 80СГ

Многоцелевой пятикоординатный обрабатывающий центр модели СТЦ Н 80СГ с автоматической сменой инструмента предназначен для комплексной обработки особо сложных корпусных и базовых деталей из черных и цветных металлов, деталей из легированных и инструментальных сталей с твердостью до 60 HRC, в т.ч. сварных деталей.
На станке выполняются следующие технологические операции: фрезерование плоскостей, пазов, уступов, в т.ч. контурное фрезерование поверхностей; сверление, рассверливание, центрирование и зенкерование отверстий; растачивание и развертывание отверстий; нарезание резьбы в отверстиях метчиками и фрезой резьбофрезерованием по контуру с линейной и круговой интерполяцией плоскостей, пазов, уступов и других поверхностей, растачивание соосных отверстий с разворотом стола на 180°

Многоцелевой пятикоординатный обрабатывающий центр модели СТЦ Н 80СГ станок ЧПУ
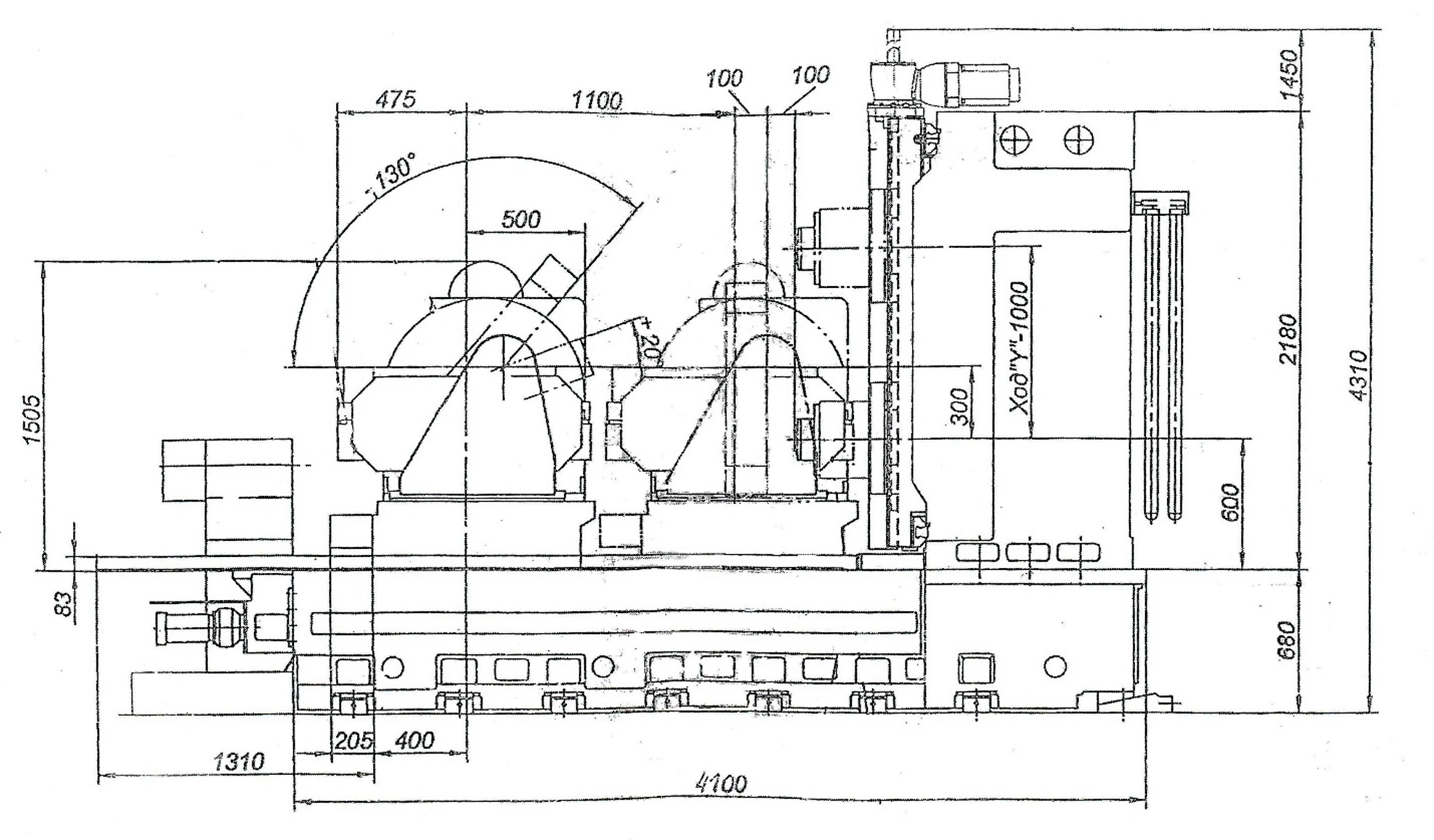
Рабочая зона станка общий чертеж

Рабочая зона

Несущие элементы станка выполнены литыми из чугуна. Его структура обеспечивает высокую жесткость конструкции станка и высокую точность обработки. Конструкция коробчатого типа гарантирует обеспечение заданных характеристик точности даже при тяжелых режимах резания.
Станина станка представляет собой корпусную литую деталь призматической формы. Наружные стенки станины не имеют литейных окон и приливов, что отвечает современным эргономическим требованиям к базовым деталям станка. Станина имеет рельсовые роликовые направляющие качения с предварительным натягом, обеспечивающие перемещение саней стола (ось Z). Станина имеет высокоточные обработанные поверхности для установки неподвижного портала, направляющих перемещения саней стола, отсчетного устройства, привода подач по оси Z, инструментального магазина

СТОЛ

Двухкоординатный поворотный стол имеет возможность вращения вокруг вертикальной (ось В) и горизонтальной (ось А) осей и состоит из поворотного стола и механизма качания. Механизм качания установлен на санях стола. Поворотный стол представляет собой литой корпус, внутри которого смонтирована червячная пара непрерывного стола. Крутящий момент от вала электродвигателя через зубчато-ременную и червячную передачи передается платформе стола. Опорами червяка со стороны привода является специальный роликовый радиально-упорный подшипник, с противоположной стороны два радиально-упорных шариковых подшипника. Червячное колесо установлено на комбинированном роликовом радиально-упорном подшипнике. На боковой поверхности саней установлен вторичный питатель, от которого смазка подается на опоры качения и гайку шариковой винтовой пары. Отсчет поворота стола осуществляется оптическим датчиком. Механизм качания представляет собой литой корпус, внутри которого установлен привод вращения оси «А». Крутящий момент от вала электродвигателя через зубчато-ременную передачу, два планетарных редуктора и зубчатое колесо передаются корпусу, в котором установлен поворотный стол. Зубчатое колесо установлено на комбинированном роликовом радиально-упорном подшипнике и имеет ступицу для фиксации диафрагменным гидрозажимом после выхода оси «А» в позицию. Отсчет поворота оси «А» осуществляется оптическим датчиком

Двухкоординатный поворотный стол станка ЧПУ
ШПИНДЕЛЬ станка с ЧПУ

ШПИНДЕЛЬ

Шпиндельная бабка представляет собой сварной корпус, на переднем торце которого крепится мотор-шпиндель, предназначенный для закрепления и придания вращения инструменту с конусом НSК-100А. На боковых торцах бабки крепятся роликовые опоры качения, обеспечивающие плавное вертикальное перемещение шпиндельной бабки по направляющим рельсам поперечно-подвижной стойки. На верхнем торце стойки смонтированы амортизаторы для предотвращения жестких ударов в конце перемещения шпиндельной бабки вниз. Привод подачи шпиндельной бабки (ось Y) осуществляется от отдельного высокомоментного электродвигателя. Для получения высокой скорости перемещения (до 40 м/мин) используется шариковая винтовая пара с шагом 30 мм. В приводе подачи шпиндельной бабки (ось Y) вращающейся частью является гайка, закрепленная на планетарном редукторе привода подачи. Не вращающийся вертикально-подвижный винт жестко закреплен на шпиндельной бабке симметрично направляющим

Инструментальный магазин

Устройство автоматической смены инструмента состоит из инструментального магазина и манипулятора. Инструментальный магазин представляет собой сварной корпус, на котором смонтированы все сборочные единицы, относящиеся к устройству смены инструмента. Цепь инструментального магазина расположена вертикально и перекатывается сверху по стальным кольцам, закрепленным на катке, а снизу по приводной звездочке. Манипулятор предназначен для автоматической смены инструмента в шпинделе станка и состоит из основания, установленного на корпусе магазина и несущего каретку, состоящую из поперечно-подвижных салазок и продольно-подвижной стойки, перемещающихся по круглым направляющим при помощи гидроцилиндров. В стойке монтируется механизм поворота захвата инструмента, имеющего привод вращения по и против часовой стрелки на 180° от гидроцилиндров при помощи штоков-реек

Устройство автоматической смены инструмента
ЧПУ Балт-Систем NC-400S система управления станка

Система управления

Станок оснащен системой ЧПУ Балт-СистемNC-400S которая отличается уникальным сочетанием многофункциональности, надежности и возможностью одновременной многоосевой обработки. Система имеет открытую архитектуру, что позволяет удовлетворять растущие требования потребителей путем встраивания дополнительных аппаратных и программных модулей.

Система позволяет работать с датчиками типа энкодер, резольвер и индуктосин.

Основные отличительные особенности системы:

  • Наличие дискретных входов и выходов;
  • Подготовка управляющих программ одновременно с выполнением цикла обработки детали;
  • Вывод информационных сообщений (ошибки при подготовке кадров, ошибки оператора, ошибки диагностики системы и станка);
  • Компенсация погрешности ходового винта и компенсация люфтов;
  • Программные ограничения;
  • Управление разгоном/торможением по линейному или экспоненциальному закону;
  • Электронный штурвал;
  • Диагностика при включении и во время работы;
  • Встроенный программируемый интерфейс логики станка;
  • Язык высокого уровня для программирования интерфейса логики станка;
  • Видеографика.

ТЕХНИЧЕСКИЕ ХАРАКТЕРИСТИКИ В БАЗОВОМ ИСПОЛНЕНИИ

Характеристики устанавливаемого инструмента

Инструментальный конус                                                                                                                                                HSK A100
Зажимной хвостовик                                                                                                                                                    DIN 69871A
Максимальная длина                                                                                                                                                            500 мм
Максимальный диаметр                                                                                                                                                      250 мм
Максимальная масса                                                                                                                                                                 25 кг

Рабочие и установочные перемещения

Наибольшее программируемое перемещение:
- по оси Х                                                                                                                                                                                1200 мм
- по оси Y                                                                                                                                                                                1000 мм
- по оси Z                                                                                                                                                                                1100 мм
- по оси B                                                                                                                                                                                       360°

Точность (повторяемость) двухстороннего позиционирования 

По оси Х                                                                                                                                                                              30(15) мкм
По оси Y                                                                                                                                                                              40(20) мкм
По оси Z                                                                                                                                                                              50(25) мкм
По оси B                                                                                                                                                                       25(12) угл. сек

Шпиндель

Диапазон частот вращения                                                                                                                             10...8000 об./мин
Мощность привода                                                                                                                                                                 32 кВт
Наибольший крутящий момент                                                                                                                                        300 Нм

Стол

Размер рабочей поверхности стола                                                                                                                        800х800 мм
Диаметр крепежных отверстий                                                                                                                                              М16
Расстояние между крепежными отверстиями                                                                                                               100 мм
Количество крепежных отверстий                                                                                                                                     47 шт.
Диаметр центрального отверстия                                                                                                                                 50Н6 мм
Грузоподъемность                                                                                                                                                                  600 кг

Система автоматической смены инструмента

Емкость инструментального магазина                                                                                                                              50 шт.
Максимальная суммарная масса инструмента                                                                                                             1000 кг
Время смены инструмента                                                                                                                                                    12 сек

КОМПЛЕКТ ПОСТАВКИ

Станок в базовом исполнении

  • Шпиндель HSK-A100, 8000 об./мин, 300 Нм
  • Система управления станком с ЧПУ BaltSystem 400S
  • Двухкоординатный поворотный стол 800x800 мм
  • Инструментальный магазин на 40 позиций
  • Гидростанция на 160 л
  • Станция СОЖ на 700 л, наружная подача в зону резания
  • Шнековый транспортер в зоне резания,
  • Ленточный транспортер и бак для стружки
  • Комплект защиты направляющих и ШВП
  • Комплект сопроводительной и эксплуатационной документации на бумажном носителе
  • Упаковка стандартная (полиэтиленовый чехол)
  • Доставка автотранспортом до склада Заказчика
  • Пусконаладочные работы
  • Инструктаж персонала на 10 чел.
  • Базовая гарантия на 12 мес.
  • Консультации по условиям монтажа и режимам работы оборудования 

Дополнительная комплектация

  • Система измерения инструмента Pioneer RP610T
  • Система измерения инструмента Hexagon RWT35.50
  • Система измерения детали Pioneer RPS-20
  • Система измерения детали Pioneer RWP20.50
  • Пистолет подачи СОЖ 

Услуги

  • Расширенная гарантия на срок до 24 мес.
  • Постпроцессор для NX
  • Кинематическая 3D модель с симуляцией обработки в NX
  • Кинематическая 3D модель с симуляцией обработки в VERICUT 

ОБРАТНАЯ СВЯЗЬ

Свяжитесь с нами по любым интересующим Вас вопросам по контактным данным ниже или с помощью формы обратной связи

Контактная информация

127018, Россия, г. Москва,
ул. Сущёвский Вал, д. 18
CRM-форма появится здесь